当前位置:
整木网>
整木新闻>
整装周边>
详情
手机版最新留言:
使用手机微信“扫一扫”功能,扫描以下二维码,即可将本文分享到“朋友圈”中。
2024-06-30 编辑:中国整木网 来源:网络 浏览数:6721
美国时间8月12日,美国专利商标局专利审判和上诉委员会(PTAB)对摩恩要求审查科勒美国专利号为9677256的淋浴系统(Shower Bar System)专利的有效性一案做出判决,认为摩恩没有足够优势的证据证明科勒HydroRail系列淋浴系统的专利所示权利要求的无效性。
美国时间8月12日,美国专利商标局专利审判和上诉委员会(PTAB)对摩恩要求审查科勒美国专利号为9677256的淋浴系统(Shower Bar System)专利的有效性一案做出判决,认为摩恩没有足够优势的证据证明科勒HydroRail系列淋浴系统的专利所示权利要求的无效性。
2018年2月1日,科勒在美国某州北区地方法院提起了针对摩恩公司的专利侵权诉讼,认为MoenAnnex™淋浴系统特别是淋浴柱部分使用了科勒已有创新和专利技术,案件编号为1:18-cv-0084 5。2018年5月11日,摩恩提出了一项动议,要求保持待定的部分审查。

案件回顾
1、科勒诉摩恩专利侵权
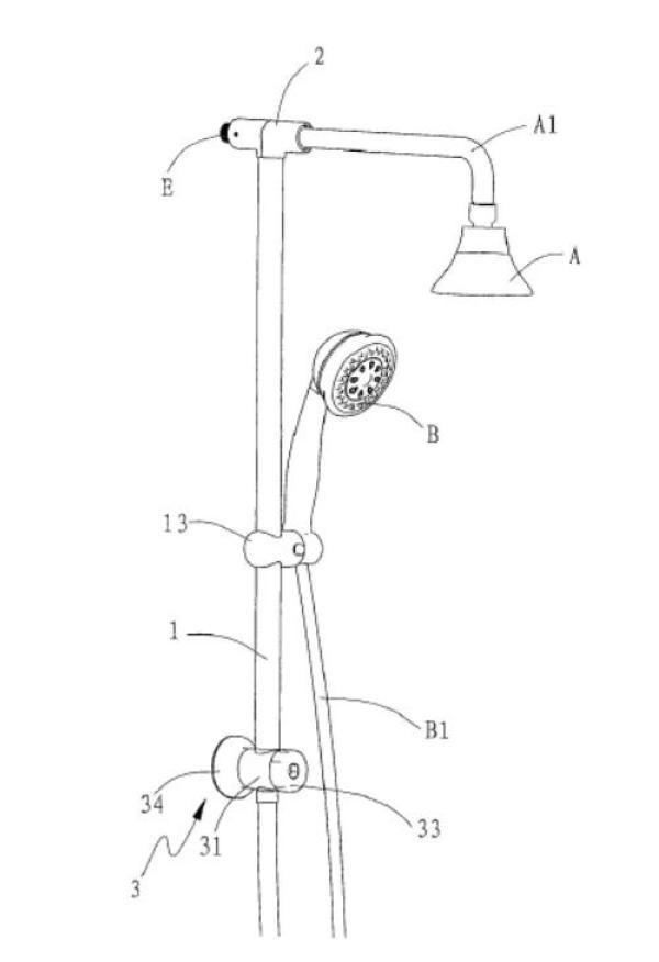
2016年2月29日,科勒提交HydroRail系列专利,该专利主要为一种新型无钻孔淋浴系统,可以在不用打洞或以其他方式损坏墙壁的情况下安装,涉及到顶喷、手持花洒、软管、淋浴柱、转接头等多个部位外观设计及组装和安装方式。该专利于2016年6月23日发布。


科勒产品专利图示

摩恩产品销售页面示
科勒表示,摩恩未经科勒许可或授权且违反相关法规的情况下,制造、销售 “Moen Annex™”系列,以及型号TS3661NH的淋浴花洒固定装置,至少侵犯了专利中的11项权利要求。科勒提出要求摩恩赔偿科勒三倍赔偿金,并支付科勒诉讼中产生的一切费用包括法律规定的由摩恩支付的合理律师费。
2、摩恩上诉要求审查科勒专利的有效性
2018年5月11日,摩恩提出了一项动议,要求保持待定的部分审查。摩恩认为科勒所示专利部分权利要求过于广泛,并不具备独特技术和创新含量,要求重新审查该专利的有效性。
2019年8月13日,PTAB在最终决定中表示摩恩没有足够优势的证据证明科勒专利的无效性。
摩恩与科勒的专利“恩怨”由来已久
1987年,当时摩恩公司在美国专利商标局提交了两份申请,要求将龙头和龙头把手设计注册为商标。科勒公司反对该申请,理由是产品形状不能作为商标注册。但是,当时的上诉委员会驳回了科勒的反对意见。科勒根据地区法院的相关法律要求审查上诉委员会的决定。双方提交了交叉简易判决动议,并进一步提交新的证据。地区法院作出简易判决,支持摩恩。科勒根据地区法院的判决及时提出上诉。
但是此案件涉及到当时美国专利法与联邦商标法之间存在冲突问题,导致地方法院认为摩恩的申请是合法,而联邦巡回上诉法院反对地方法院的判决。
2011年9月16日,《美国发明法案》出台。根据该法案,新设了专利审查与上诉委员会,审理当事人提起的专利无效和申诉请求。此举促成了美国专利无效制度的重大变革。近年来,不少国家如法国、日本也在努力改革专利无效制度,加强专利审查机关在专利无效方面的作用,以提升专利质量、打击专利蟑螂。
最近,四川知名的短视频博主用了22年的真实姓名也是账号名——“敬汉卿”被别人抢先注册成了商标,表示“敬汉卿”已经侵犯到了该公司注册商标专用权,还让他“及时整改更名”。
一直以来,商标盗版、囤积抢注商标等侵权行为屡见不鲜。从《新商标法》出台以来,逐渐开始治理商标乱像,严打非正常专利申请和商标抢注、囤积行为。根据国家知识产权局数据显示,2018年我国专利行政执法办案7.7万件;查处商标违法案件3.1万件;收缴盗版制品377万件,删除侵权链接185万条。
截止2018年数据显示,国内(不含港澳台)发明专利拥有量达160.2万件,同比增长18.1%,每万人口发明专利拥有量达11.5件,PCT国际专利申请受理量5.5万件,同比增长9.0%;国内有效商标注册量达1804.9万件,同比增长32.8%。
想了解这个项目,请联系我!
我想加盟,请将项目的资料发给我。
请问我所在地区有加盟商了吗?
想了解此项目的加盟流程,请联系我!
请问加盟此项目需投资多少钱?
版权与免责声明:
凡未注明稿件来源的内容均为转稿或由企业用户注册发布,本网转载出于传递更多信息的目的,如转稿涉及版权问题,请作者联系我们处理。我们对页面中展示内容的真实性、准确性和合法性均不承担任何法律责任。
如内容信息对您产生影响,请及时联系我们修改或删除。
15811192007

今天已经有 230 人获取加盟资料
激发新活力,释放新动能,大咖齐聚,闪耀门展-2023中国国际门业展览会(北京门展),中国木门网、中居联高端访谈栏目专访鑫雅迪负离子木门营销总监刘志峰。
激发新活力,释放新动能,大咖齐聚,闪耀门展-2023中国国际门业展览会(北京门展),中国木门网、中居联高端访谈栏目专访洋诚智慧木门总经理王智。
激发新活力,释放新动能,大咖齐聚,闪耀门展-2023中国国际门业展览会(北京门展),中国木门网、中居联高端访谈栏目专访戴克爱家高定刘杰。
激发新活力,释放新动能,大咖齐聚,闪耀门展-2023中国国际门业展览会(北京门展),中国木门网、中居联高端访谈栏目专访品桥木门总经理隗治洪
激发新活力,释放新动能,大咖齐聚,闪耀门展-2023中国国际门业展览会(北京门展),中国木门网、中居联高端访谈栏目专访兄弟木门营销总经理鲍壮。
2024门业及定制家居品牌峰会暨中居联杯·2023年度木门及门墙柜整装十大品牌表彰盛典圆满落幕
最近,陆陆续续有几位企业主来信来电,对当今国际局势深感焦虑,分别约我深度探讨一下当下局势及其可能的演化方向与进程,以便看清楚未来的机会和风险,并给出一些建议,以便早做准备。
让加盟更诚信 让选择更放心
立即咨询做有权威的品牌